张向荣广联达造价圈签约作者、30+年造价实战经验,15+年造价培训经验,快算达科技公司创始人
箍筋到底按外皮计算还是按中心线计算,一直是钢筋计算争议的热门话题。有些地区定额明确规定按中心线计算,有些地区定额没有明确规定,大家就不知如何是好了,也因此产生了许多争议。本文旨在解读两种算法的根本区别,帮你算得清清楚楚、明明白白。
我们先来探讨箍筋按外皮计算的情况。

箍筋按外皮长度计算
在我看来,箍筋按外皮长度计算是为了降低计算难度,因为按外皮长度计算省去了计算圆弧的麻烦。下面请看箍筋计算的演变过程。
(一)箍筋按外皮计算的演变过程
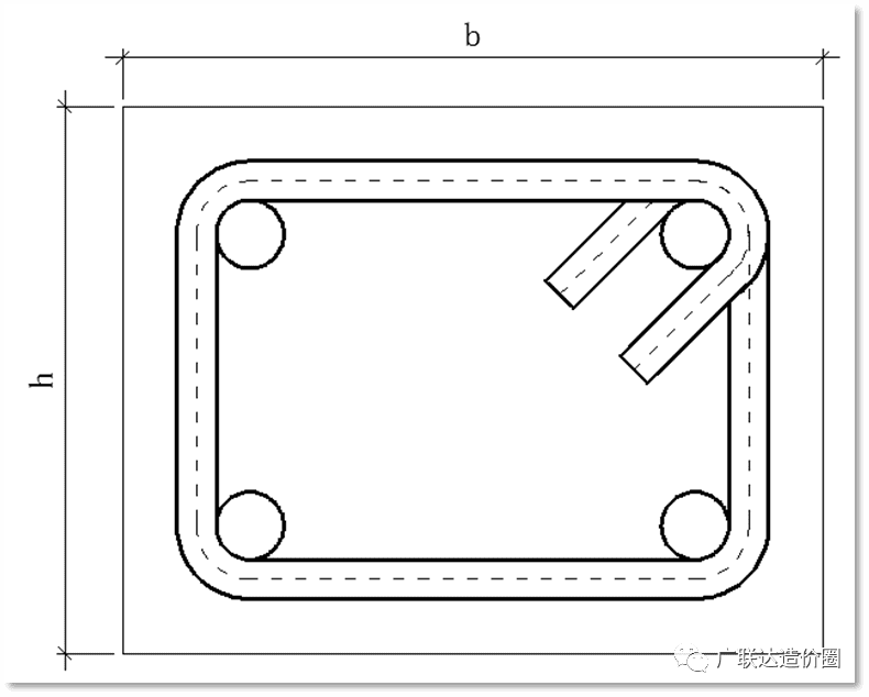
我们平常看到的箍筋是这样的,比如框架柱的箍筋,如图1所示。

图1
这个箍筋中有箍筋1、箍筋2、箍筋3、箍筋4,其实箍筋1、箍筋2、箍筋3都是2*2的封闭箍筋,箍筋4是单肢箍,也叫拉筋。
但是,图1是不能直接计算的,我们先来计算箍筋1,把其他箍筋去掉,图1就变成图2。

图2
图2还是不能计算,我们需要给图2加上直径,如图3所示。

图3
你认为这个箍筋长度可以算出来吗?有人或许会认为,当然能算出来,就是算起来比较麻烦,把4个圆弧角去掉就简单了。我估计当年发明箍筋计算公式的人也是这样想的,于是图3就变成了图4。

图4
下面我们就按图4推导箍筋按外皮计算的公式。
(二)箍筋按外皮计算公式推导过程
我们给图4加上尺寸,构件外皮是b和h,箍筋外皮是b1和h1,如图5所示。

图5
按照图5,我们可以粗略列出箍筋按外皮的计算公式,如图6所示。

图6
很显然,图6中b1和h1是不准确的,主要是圆弧部分不准确,我们把圆弧部分放大,如图7所示。

图7
图7中,b1可以换算成b2+R+d,这里R是弯曲半径,d是箍筋直径。这里b2是准确的,R+d是不准确的, R+d的实际长度是弧长fe(也就是图中的展开长度fe,展开长度与中心线相等,而不是与外皮相等,所以,这里必须计算中心线长度fe),而fe是可以计算出来的,这就出现了标注长度与实际长度差值,我们只要把差值补回来,这个圆弧段的长度就准确的了。
下面我们就来计算这个差值。
标注长度与实际长度的差值= 弧长fe-(R+d)→
弧长fe=圆的周长*135/360=直径*π*135/360=(R+d/2)*2*π*135/360→
最后得到如下公式,如图8所示。

图8
这里牵扯到箍筋的圆弧半径R的取值问题,R应该取多少呢?
关于弯曲半径R的取值,平法图集16G101-1的57页有一个相对明确的范围,如图9所示。

图9
大家看到了,图9中只给了个取值范围,在具体数据上并不明确,而我们遇到每一根钢筋,必须给具体数据,怎么办呢?所以,广联达软件给了每种级别钢筋具体的弯曲半径,个人认为是较为合理的,如图10所示。

图10
我们把各种弯曲半径代入公式中,如图11所示。

图11
1、当弯曲半径=1.25d时
我们把弯曲半径R=1.25d,π=3.1415926代入公式中,得到标注与实际的差值;

2、当弯曲半径=2d时
我们把弯曲半径R=2d,π=3.1415926代入公式中,得到标注与实际的差值;

3、当弯曲半径=2.5d时
我们把弯曲半径R=2.5d,π=3.1415926代入公式中,得到标注与实际的差值;

4、当弯曲半径=3d时
我们把弯曲半径R=3d,π=3.1415926代入公式中,得到标注与实际的差值;

这个135度弯钩计算结果,与广联达软件计算是一致的,如图12所示。

图12
5、按外皮计算公式推导
这里b1和h1也可以用已知的截面尺寸和保护层代替,如图13所示。

图13
再把b1、h1和135度角弯钩的差值代入到公式中,如图14所示。

图14
当弯曲半径R=1.25d,公式推导过程如下:

同样道理,把其他弯曲半径都代入公式中,最终得到箍筋按外皮计算公式如图15所示。

图15

箍筋按中心线长度计算公式推导
下面我们推导按中心线来计算箍筋的长度。
所谓按中心线计算,就是工地的下料长度,因为在实际施工中,箍筋的每个角不可能是直角,一定会出现圆弧角,这是无法避免的,如图16所示。

图16
我们再来来计算一下箍筋长度,把图16进一步细化,把数据全部变成准确的已知数据。在实际工程中,截面尺寸b和h是已知的,保护层C是已知的,箍筋直径d是已知的,弯曲半径我们前面讲了,遇到具体工程,也是已知的,那么图16可以进一步细化成图17。

图17
根据图17,我们可以计算下料长度,计算过程如图18所示。

图18
把图18进一步简化,如图19所示。

图19
最终,我们得到箍筋按中心线计算公式如图20所示。


箍筋按外皮计算与按中心线计算长度比较
下面我们拿一个具体箍筋,来比较一下箍筋按外皮计算和按中心线计算长度的区别。
假如一个柱子截面尺寸为500*500,箍筋直径为8mm,柱子保护层为30,我们来比较各种级别的箍筋长度。
(一)当箍筋是一级圆钢时,弯曲半径R=1.25d
1、箍筋按外皮计算长度
箍筋按外皮长度
=(b+h)*2-8C+max(10d,75)*2+1.9d*2
=(500+500)*2-8*30+80*2+1.9*8*2
=1950.4
2、箍筋按中心线计算长度
箍筋按中心线计算长度(R换成1.25d)
=(b+h)*2-8C-8d-8R+(1.5R+0.75d)*π*2
+max(10d,75)*2
=(500+500)*2-8*30-8*8-8*1.25*8
+(1.5*1.25*8+0.75*8)*3.1415926*2
+80*2=1907.95
3、二者差值
外皮长度-中心线长度=1950.4-1907.95=42.45
(二)当箍筋是二级螺纹钢时,弯曲半径R=2d
1、箍筋按外皮计算长度
箍筋按外皮长度
=(b+h)*2-8C+max(10d,75)*2+1.9d*2
=(500+500)*2-8*30+80*2+2.89*8*2
=1966.24
2、箍筋按中心线计算长度
箍筋按中心线计算长度(R换成2d)
=(b+h)*2-8C-8d-8R+(1.5R+0.75d)
*π*2+max(10d,75)*2
=(500+500)*2-8*30-8*8-8*2*8
+(1.5*2*8+0.75*8)*3.1415926*2+80*2
=1916.50
3、二者差值
外皮长度-中心线长度=1966.24-1916.50=49.74
(三)当箍筋是三级螺纹钢时,弯曲半径R=2.5d
1、箍筋按外皮计算长度
箍筋按外皮长度
=(b+h)*2-8C+max(10d,75)*2+1.9d*2
=(500+500)*2-8*30+80*2+3.57*8*2
=1977.12
2、箍筋按中心线计算长度
箍筋按中心线计算长度(R换成2.5d)
=(b+h)*2-8C-8d-8R+(1.5R+0.75d)*π*2
+max(10d,75)*2
=(500+500)*2-8*30-8*8-8*2.5*8
+(1.5*2.5*8+0.75*8)*3.1415926*2
+80*2=1922.19
3、二者差值
外皮长度-中心线长度=1977.12-1922.19=54.93
(四)当箍筋是四级螺纹钢时,弯曲半径R=3d
1、箍筋按外皮计算长度
箍筋按外皮长度
=(b+h)*2-8C+max(10d,75)*2+1.9d*2
=(500+500)*2-8*30+80*2+4.25*8*2
=1988
2、箍筋按中心线计算长度
箍筋按中心线计算长度(R换成3d)
=(b+h)*2-8C-8d-8R+(1.5R+0.75d)*π*2
+max(10d,75)*2
=(500+500)*2-8*30-8*8-8*3*8
+(1.5*3*8+0.75*8)*3.1415926*2+80*2
=1927.89
3、二者差值
外皮长度-中心线长度=1988-1927.89=60.11

实际工程中到底按哪个长度计算
综上所述,按照外皮计算比按中心线计算稍微大一点,那实际工程中到底按外皮计算还是按中心线计算?
这个问题没有标准答案,所在立场不同,大家可能采取的计算方式也不同,我相信你内心已经有答案了。
下面是我自己做工程中的原则,供大家参考。
1、如果当地定额有明确的规定,那就按定额规定计算;
2、如果当地定额没有规定,张向荣老师之前的工程中是按外皮长度计算的,个人经验,仅供参考。



评论0